BTC/HKD-0.48%
ETH/HKD-0.56%
LTC/HKD-0.84%
ADA/HKD-0.73%
SOL/HKD+0.63%
XRP/HKD-0.59%我們需要將NFT轉移到第2層生態系統以降低費用。然而,這樣正確做到這一點需要良好的跨Rollup可移植性標準,從而生態系統可以避免被鎖定在一個特定的L2中。——VitalikButerin
NFT生態系統正在迅速發展,已經成為以太坊鏈gas消耗的重要組成部分。NFT生態系統的年輕化和相對缺乏根基,以及由于NFT的很大一部分的非金融性質而更需要避免高額費用,這也使得NFT成為轉移到第2層網絡的主要目標。然而,這就提出了如何將NFT遷移到Layer2的問題。
一個簡單的提案是:在社區內協調將NFT遷移到單個Rollup平臺,但這存在一些重要的缺點:
所有現有的支持EVM的主要Rollup平臺都有后門、集中排序或其他實驗性功能,將整個生態系統交給單個Rollup是有風險的,而Rollup將如何超越這些功能存在不確定性。
馬斯克關注以太坊創始人Vitalik Buterin推特賬號:6月21日消息,據Big Tech Alert監測信息,埃隆·馬斯克(Elon Musk)5小時前于推特新增關注以太坊聯合創始人Vitalik Buterin的賬號。[2023/6/21 21:51:37]
NFT生態系統可能會變得太大,以至于單個Rollup無法安全處理
NFT生態系統的任何部分,甚至整個NFT生態系統,都不是封閉的世界;他們將需要與以太坊生態系統的其他部分進行互操作
這篇文章提出了一種關于如何使NFT跨Rollup友好的提案,允許NFT移動到整個Layer2生態系統。
提議的解決方案1
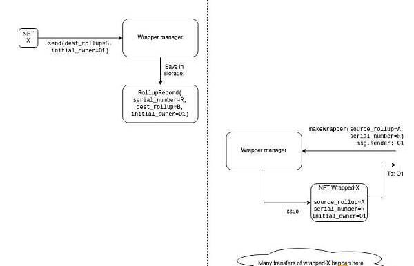
NFT將首先在一個Rollup中注冊。通過創建一個封裝NFT,NFT可以在其他Rollup之間跳轉。
制藥巨頭輝瑞正申請加入VitaDAO并將捐贈50萬美元:金色財經報道,據醫藥生命研究去中心自治組織VitaDAO透露,制藥巨頭輝瑞(Pfizer)正在積極擁抱區塊鏈技術并對延長生命的藥物研究表達了強烈興趣。為此,Pfizer Ventures執行董事兼合伙人Michael Baran和Early-Stage External Scientific Networks負責人Linda Lohr在VitaDAO社區發起了一項提案,旨在向VitaDAO捐款50萬美元并加入VitaDAO治理,輝瑞計劃支持VitaDAO的方式包括:訪問交易流、支持知識產權孵化和IP商業化、以及發展社區。截至目前100%的選票支持輝瑞加入VitaDAO,如果一切順利,這家制藥巨頭將在今年10月中旬加入。[2022/9/13 13:27:24]
封裝NFT的過程如下:
DeFi項目Waves將Suterusu集成至Gravity協議:據官方消息,DeFi項目Waves宣布與隱私保護項目Suterusu(Suter)達成合作,后者將與Gravity協議集成,通過Suterusu的隱私保護DeFi功能形成一個聯盟,進一步加強Gravity的區塊鏈不可知數據和鏈間通信協議。
注:Gravity是一個無基礎代幣的預言機,具有跨鏈通信網絡。[2020/8/22]
在RollupA上,將NFT發送到封裝管理器合約,指定(i)目的地Rollup和(ii)初始所有者。密碼箱合約在存儲中保存一條記錄,為X分配一個新的序列號R,并保存目標Rollup和目標Rollup的初始所有者
在RollupB上,任何人都可以使用RollupB上的封裝管理器合約創建封裝NFT。創建一個封裝NFT需要指定源Rollup和序列號。創建X的一個「有效」封裝NFT只能由指定的所有者并通過聲明(R,A)作為序列號和源Rollup來完成。請注意,可能會創建一個無指向內容的無效封裝NFT;RollupB不知道什么是有效和無效。封裝管理器合約存儲元組并防止使用同一個元組創建多個NFT。
金融廳限制泰國Tavitt公司ICO活動,“在日居住者無法購買”:日前,泰國Tavitt公司發布與日本金融廳協商結果,在日居住者不可以參加ICO活動。非在日居住者(在海外居住的日本人)可以參加ICO。根據引用的金融廳郵件,總結出以下幾點意見:1 、在日居住者將不能參加未在日本注冊的海外法人實施的ICO活動;2、非在日居住者(在海外居住的日本人)可以參加ICO;3、未在日本金融廳注冊加密貨幣交易所資格的海外法人實施的ICO活動,如果不明確“在日居住者無法購買”的話,將無法實施ICO。4、金融廳目前對該公司的技術WAVES無法理解,如果繼續存在這種“在日居住者可以買進ICO“的狀態的情況,將涉嫌違反資金決算法。5、在日居住者將不能通過WAVES等未在日本金融廳注冊的海外法人的加密貨幣交易所購入加密貨幣。[2018/3/7]
要從密碼箱中提取NFT,RollupB上的封裝-X的當前所有者必須將其發送回封裝管理器,后者會發出收據,說明「序列號為R、源匯總A和初始所有者O1的NFT剛剛接觸封裝,帶有想要的新所有者O2」。
密碼箱合約可以在收到匯總B上的收據的證明時將X交給O2,并根據自己存儲的信息檢查序列號、源Rollup和初始所有者,并驗證它是否通過。


請注意,提款會有一個時間延遲,因為OptimisticRollup狀態根需要大約1周的時間延遲才能最終確定,以便驗證收據。到目前為止,更快地進行多跳的唯一方法是進行多層封裝。
為了讓用戶驗證封裝-X是否合法,他們需要自己驗證RollupB上的狀態和RollupA上的收據。
擴展:添加跨Rollup傳輸
在匯總B上,wrapped-X的所有者可以將其發送給包裝管理器,并附上發出不同收據的指令:「序列號為R、源RollupA和初始所有者O1的NFT剛剛移至RollupC,與想要的新所有者O2」。
在RollupC上,任何人都可以通過指定原始源Rollup、序列號和初始所有者來制作封裝-X對象,并且RollupC上的此封裝-X可以自由交易。但是,為了能夠撤回封裝-X,需要將RollupB的收據發送到RollupA。
實際發生的事情是,當NFT從一個Rollup移動到另一個Rollup時,轉移鏈留下了一個收據鏈,該收據鏈中的每一個收據都被鏡像到RollupA并在某個時間點按順序處理。未來,當其他Rollup的狀態最終確定時。
為了讓用戶驗證封裝的X是合法的,他們需要驗證反映跨Rollup轉移的所有Rollup上的整個收據鏈。
此外請注意,該協議可以簡化:「提款」只是一個跨Rollup轉移RollupA,如果認識到RollupA發布的特定序列號現在在RollupA上,那么該封裝的合約可以直接兌換。
擴展2:基礎鏈上的gas優化發行
所有NFT都可以以這樣的方式發行,即它們由以太坊基礎鏈上的密碼箱合約「擁有」。為了使這種gas高效,密碼箱合約將獲得生成一整套序列號并將它們傳輸到Rollup的功能。實際上,所有NFT都是預先創建的,但尚未分配給其中任何一個「意義」,并且它們被批量轉移到Rollup。
「發行」的過程現在變成了賦予意義的過程。這可以通過在收據中傳遞「含義哈希」來完成,就像傳遞所有者的方式一樣:如果NFT沒有意義,所有者可以為其分配一個含義,轉動它變成了一個「差異化」的NFT。基礎鏈只有在驗證收據鏈后才知道NFT的含義,直到分配含義為止。
這允許所有NFT都在基礎鏈中「扎根」,而不是Rollup。這對于處理Rollup中斷或以其他方式變得不可行以及應用需要永久遷移到其他域的情況很有用。
Tags:ROLROLLNFTVITRollerSwapTROLLBNB幣BeNFT SolutionsGraviton
過去一段時間,市場圍繞CryptoPunks產生了大量的討論。但隨著NFT熱潮涌動,另一個NFT系列ArtBlocks交易也出現了大幅增長.
1900/1/1 0:00:00本文由OKExResearch原創,授權金色財經首發,轉載請注明出處。最近幾天,Loot的橫空出世將NFT再次推向新高潮.
1900/1/1 0:00:00NigelGreen在8月中旬宣稱:“以太坊登上加密領域的頂峰似乎勢不可擋。”不難看出為什么這位deVere首席執行官會這么想.
1900/1/1 0:00:00本期要點 截至?9月6日,所有二層網絡鎖倉量超過10億美元,8月上漲79%。據鏈聞實際測試,L2進入成本Optimism是Arbitrum的2倍.
1900/1/1 0:00:00只有經歷更多周期與危機的考驗,NFT背后的社區共識才能超越當前幣價的維度,真正在社區文化層面打下牢固基礎。「所謂盛世古董,亂世黃金,這句話放在加密市場,可以改為盛世NFT,亂世BTC.
1900/1/1 0:00:00最近,NFTSummer一片火熱,隔三差五就會售出動輒百萬美元價格的NFT項目。價格高,不代表項目整體市值高.
1900/1/1 0:00:00